《深圳市福田区旧工业区增加辅助性公用设施类综合整治工作办法》
《工作办法》主要分为总则、申报条件、办理流程、附则等四章共十条。
主要明确了本《工作办法》的政策依据和适用范围;
明确了增加辅助性公用设施类综合整治的申报条件;
明确了相关办理流程(包括申报材料清单、审核形式及审核结果);
明确了本《工作办法》的解释权及有效期限。



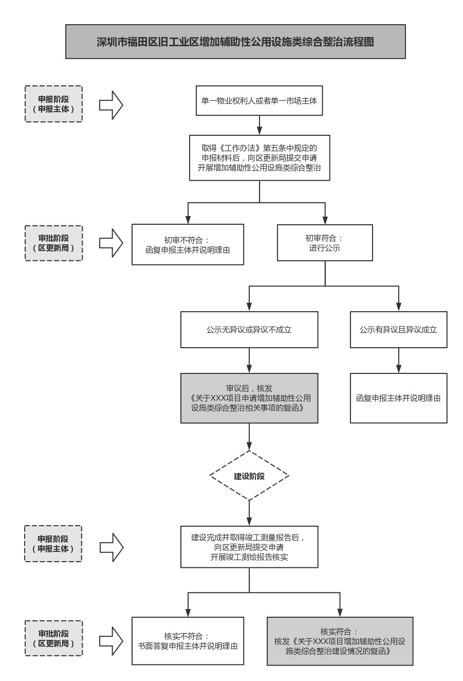
《深圳市福田区旧工业区增加辅助性公用设施类综合整治工作办法》
《工作办法》主要分为总则、申报条件、办理流程、附则等四章共十条。
主要明确了本《工作办法》的政策依据和适用范围;
明确了增加辅助性公用设施类综合整治的申报条件;
明确了相关办理流程(包括申报材料清单、审核形式及审核结果);
明确了本《工作办法》的解释权及有效期限。

